第一部分 考勤设置
一、考勤设置
考勤设置是用户灵活进行考勤管理的前提,用户可以根据需要根据自身实际情况编辑相应的班次、班制、班组和考勤设置。

1.添加班次(如下图)
2.添加班制(如下图)
用户根据公司自身实际需要设定不同的班制

3.添加班组(如下图)
科学灵活设定班组

4.考勤设置(如下图)
可设置中间打卡自动补齐


5.锁定排班如图

6.考勤登记提醒

温馨提示:灵活科学的考勤管理能提高员工的工作效率。
二、排班设置
针对集体内部员工工作时间特点上的不同,可以对内部员工进行统一的排班管理,满足企业高效管理的需求。

● 对全体员工进行科学排班管理,这也是企业能正常运行的关键步骤。
温馨提示:排班管理工作做得好,企业明天也就更好。
三、假期管理
排班设置是用户灵活进行考勤管理的前提,用户可以根据需要根据自身实际情况编辑相应的班次、班制、班组和考勤设置。

四、设置考勤人员
设置考勤人员打卡使用。

五、考勤地点设置
设置手机打卡的地点范围。
1. 界面介绍点击考勤管理-考勤地点设置-添加弹出界面如下图

2. 点击经度弹出界面如下图:
特别说明:输入地点选中点击确定

设置好范围点击确定,然后点击适用人员可以选择适用人员

第二部分 考勤操作
一、上下班登记
员工在这里查看自己相关的上下班登记信息。

温馨提示:灵活科学的考勤管理能提高员工的工作效率。
二、我的考勤管理
在这里用户可以看到自己当月的排班情况表以及自己假期和当月考勤相关信息。
界面展现

温馨提示:这里只能查看用户自己的考勤情况。
三、加班登记
用户在这里进行加班登记。
界面展现

● 转下一步后选择办理人还可以根据自身需要选择发不发送短信提醒。

温馨提示:表单设计流程设置正确与否直接影响到申请流程能否顺利进行,其次是系统管理业务引擎的绑定、绑定之后面点击启用下的否改成是。绑定关系如下图: 说明:也可以直接在工作流程中点流程发起加班流程

四、出差登记
出差的员工自行申请出差的登记操作。

申请相关操作步骤和加班登记类似。
温馨提示:表单设计流程设置正确与否直接影响到申请流程能否顺利进行,其次是系统管理业务引擎的绑定、绑定之后面点击启用下的否改成是。绑定关系如下图: 说明:也可以直接在工作流程中点流程发起出差流程

五、请假登记
请假的员工自行申请请假的登记操作。

点请假登记如下图;

说明:填写完请假信息点击转一下步即可。也可以直接在工作流程中点流程发起请假流程。关键在于做好流程表单和业务引擎的绑定 业务引擎绑定在系统管理业务引擎 绑定关系如下图

温馨提示:表单设计流程设置正确与否直接影响到申请流程能否顺利进行。
六、外出登记
外出的员工自行申请外出的登记操作。

申请相关操作步骤和加班登记类似。
温馨提示:表单设计流程设置正确与否直接影响到申请流程能否顺利进行,其次是系统管理业务引擎的绑定、绑定之后面点击启用下的否改成是。绑定关系如下图: 说明:也可以直接在工作流程中点流程发起外出流程

七、补卡登记
补卡的员工自行申请补卡的登记操作。

申请相关操作步骤和加班登记类似。
温馨提示:表单设计流程设置正确与否直接影响到申请流程能否顺利进行,其次是系统管理业务引擎的绑定、绑定之后面点击启用下的否改成是。绑定关系如下图: 说明:也可以直接在工作流程中点流程发起补卡流程

八、考勤机记录查看
这里是对员工考勤机记录同步过来的数据查看。
说明:可对接中控考勤机带有网线接口的考勤机。汉王考勤机部分型号,详细情况可联系我们

温馨提示:无纸高效方便,您的实际需求是我们工作上的客观动力。
九、考勤记录
这里是对员工考勤情况进行统计的浏览。

温馨提示:1.这里是公司的组织架构可具体查看每个人的考勤情况。2.可查询请假记录.查看考勤机打卡的原始数据情况。3.查询某段时间的考情和导出。4.显示详细的考勤登记情况
十、在岗状态
在这里我们可以看到公司当天员工的在岗状态。

第三部分 考勤统计
考勤统计可以对员工一定时期内考勤情况进行细致的数据统计,让管理者对员工考勤情况了如指掌。

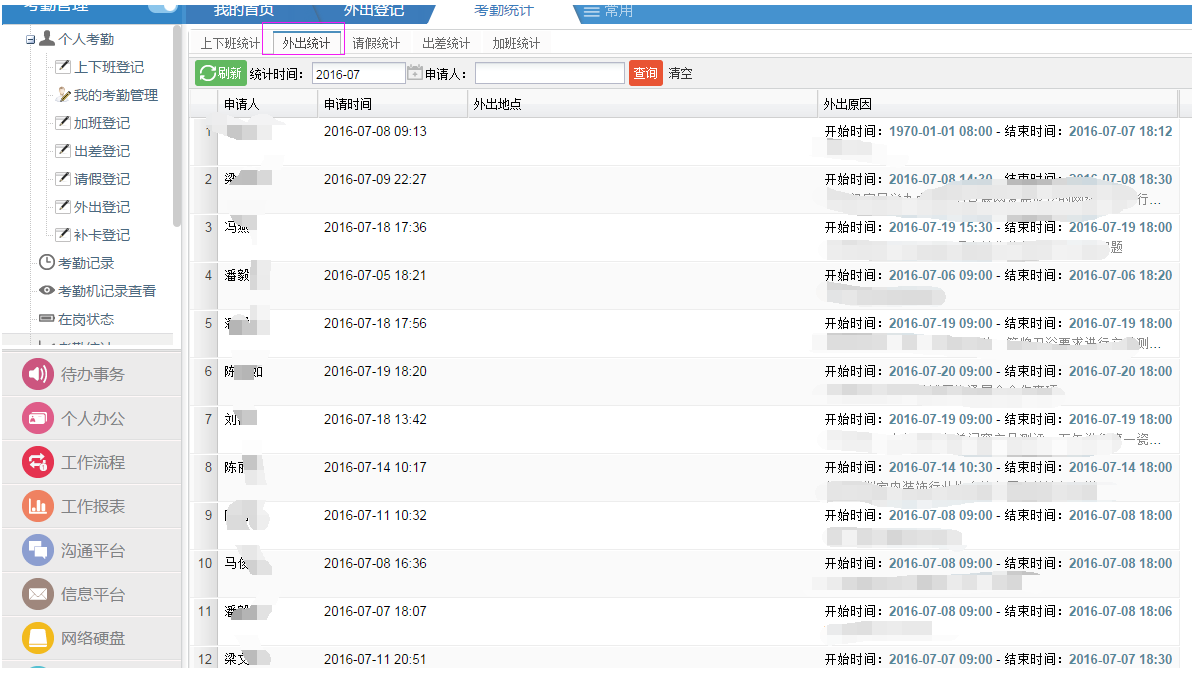
● 之前有按正常程序提交了外出申请表单并且通过了领导审批的员工外出情况的统计显示(如下图):

● 统计时间范围内员工的请假情况统计(如下图):用户可以查询相应月份通过领导审批了的员工请假情况,也可以输入申请人名字查看他的请假情况。

● 员工出差情况统计(如下图):

● 统计时间范围内有审批了的加班员工的加班情况统计(如下图):

温馨提示:员工必须按照正常流程去申请外出,请假,出差和加班并且通过了领导的审批,否则统计出来的数据不真实。